אני מניח שכולכם מכירים את חברת "Apple", אך אולי חלקכם לא יודעים שהם מתכננים להוציא בקרוב, משקפי מציאות מדומה, המשתמשות בטכנולוגיות שעוד לא ראינו כמותם!
לאחרונה גילנו שאפל קיבלה פטנט המתייחס, לדגם תלת־מימדי של האצבעות שלך, במטרה לזהות את התנועות שהן עושות. ברגע ששמעו על הפטנט, כולם חשבו שיש לזה קשר למשקפי המציאות המדומה שאפל תכננו להוציא. לפי משרד הפטנטים המסחרי בארצות הברית, הפטנט רשום כמערכת המסוגלת ליצור מודל תלת מימדי של האצבעות שלך שישמש בין השאר, לניווט בסביבה וירטואולית
.
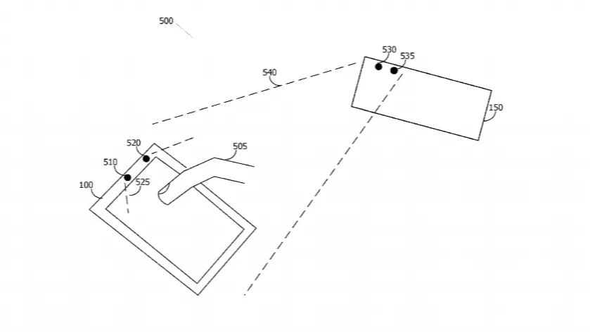
התמונה למעלה ממחישה, את מה שהמערכת אמורה לעשות, כמו שאתם רואים היא יוצרת דגם תלת מימדי של האצבעות. היא עושה זאת באמצעות מצלמות וחיישני עומק.
אכן הדרך הזאת למעקב אחרי האצבעות היא חדשה, אך התוצאה ככל הנראה, דומה לתוכנות מעקב שכבר ראינו במשקפי מציאות מדומה אחרים, לדוגמה ב־Oculus Quest 2.
כמובן של שכחנו, שהמערכת הזאת של אפל היא רק בשלבי פיתוח מוקדמים, ולכן לכולנו יש למה לחכות. בנוסף לכך ישנן שמועות בנוגע לתצוגת באיכות מטורפת של 8K, תוכנה למעקב אחרי עיניים וחיישני סריקת Lidar (לידאר היא טכנולוגיה המודדת מרחק על ידי הארת המטרה בקרן לייזר).
עכשיו אחרי כל הדברים המרגשים ששמענו, ישנם גם דברים שפחות תשמחו לשמוע. המחיר צפוי להיות, בסביבות ה־3000 דולר! זה לא נתון רשמי, אך על פי המידע הנתון לנו זה המחיר. כמו כן המכשיר אמור לצאת בשנת 2022, אך גם נתון זה לא סופי. אז כן, ככל הנראה משקפי המציאות המדומה של אפל בדרך אלינו, אני בטוח שכולם מתרגשים ומחכים להן, אבל אם אתם באמת רוצים שיהיה לכם כאלה, אני ממליץ לכם לחסוך כסף כבר מעכשיו.
עדיין לא נוספו תגובות.
התחבר או הרשם על מנת להגיב.
עליך להיות משתמש רשום על מנת להגיב
צור חשבון
צור חשבון חדש בקהילה בקלי קלות.
רישום חשבון חדשהתחבר
משתמש קיים? התחבר.
התחבר עכשיו